ventdepot.com

| Inicio   RegistrateProductos | Servicios | Materiales |Especiales | Precios   |  AutoCadOrden de Compra | Obras | Ofertas | Seminarios | La Empresa | Chat ICQo MessengerCorreo | Información Técnica | Sitios de Interés | Otros | Lo Nuevo | Intranet | Imprimir |

 
Equipos y Productos: TurboCentrífugos: PremiumBlower.
Características Generales

Esta serie de TurboCentrífugos PremiumBlower VentDepot, cuenta con amplias prestaciones en caudal y presiones medias.
La carcasa está fabricada en Fe, electrosoldado, con acabado acrílico horneado.
Rotor de Aluminio fundido resistente a la corrosión.
Recubrimiento con alta resistencia, en prymer epoxy.
Cuenta con bridas de entrada y descarga.
Optimizada al máximo en consumo y eficiencia.
Diseñado con normas internacionales y aprobado por la I.V.S. (Industrial Ventilation Society).
Aplicaciones
Extrae o transporta: Gases, vapor, polvo y virutas.
Para uso en: Impulso de aire en fraguas, cubilotes, secadores, quemadores, acerraderos, transporte de partículas de polvo y viruta, etc.
Garantía
1 (Un) año de Garantía certificado por escrito, sujeto a las claúsulas.

Características Técnicas Específicas

Clave

Caudal a descarga libre

de Rotor

RPM

Amperaje

Potencia

Nivel Sonoro

Peso y dimensiones con empaque de madera

CFM

m3/hr

pulg

127V

220 / 440V
HP
dB
kg  cm

PBL-001

176

300

5

3450
6.2

---

---

1/4

71

13

35x44x25

PBL-002

235

400

6

3455
9.4

---

---

1/2

73

17
41x46x35

PBL-003

470

800

6

3355
12.3

---

---

3/4

75

21
47x54x37

PBL-004

765

1300

7

3300
14.7

---

---

1

82

24
51x61x40

PBL-005

235

400

6

3455

---

1.1

2.2

1/2

73

17
41x46x35

PBL-006

470

800

6

3355

---
3.0 1.5

3/4

75

21
47x54x37

PBL-007

765

1300

7

3300

---
3.9 1.9

1

82

24
51x60x40

PBL-008

1176

2000

8

3560

---
4.8 2.4

1 1/2

84

37
59x68x49

PBL-009

1529

2600

8

3490

---
10.0 5.0

3

86

41
59x68x50

PBL-010

2058

3500

9

3500

14.8

7.4

5

90

66
67x77x63
| Orden de Compra | Solicitar Precios | Correo y/o Asesoría Técnica | AutoCad| Tiempos de Entrega | Garantía |

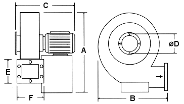
Dimensiones (mm)

Clave

A

B

C

D

E

F

PBL-001

392

312

206

137

76

91

PBL-002

410

360

303

147

101

91

PBL-003

497

427

326

153

139

115

PBL-004

554

462

354

175

150

132

PBL-005

410

360

303

147

101

91

PBL-006

497

427

326

153

139

115

PBL-007

554

462

354

175

150

132

PBL-008

632

541

440

190

162

157

PBL-009

632

541

450

190

162

157

PBL-010

726

622

583

218

175

163

Prsión Estática

Montaje

mmcda
Sujetar por medio de pijas y taquetes a la pared, techo o piso.
 
VentDepot Team, monta, instala o da mentenimiento a cualquiera de nuestros equipos, de forma rápida, segura y comforme a las normas industriales.
 
Suministro y servicio a toda la República Mexicana.

Clave

25

50

75

100

125

150

200

300

PBL-001

275*

250

200

---

---

---

---

---

PBL-002

490

480

470

250

---

---

---

---

PBL-003

780

750

700

500

300

---

---

---

PBL-004

1280

1240

1200

1000

800

500

---

---

PBL-005

490

480

470

250

---

---

---

---

PBL-006

780

720

700

500

300

---

---

---

PBL-007

1280

1240

1200

1000

800

500

---

---

PBL-008

1980

1900

1750

1600

1400

1100

---

---

PBL-009

2550

2500

2450

2350

2000

1700

1300

---

PBL-010

3450

3400

3350

3300

3200

3000

2400

1600

*Caudales en m3/hr. Caudal medio referido a los TurboDuctos.

Accesorios

DuctoConector a la Boca de Entrada

Clave

EDD 1200 pies/min

EDD 900 pies/min

EDD 500 pies/min

EEE 500pies/min

PBL-001

1164"

---

---

1176"

---

118 8x4"

1198"

1208"

121 12x4"

11410"

PBL-(002 y 005)

1226"

---

123 8x4"

1248"

1258"

126 12x4"

12710"

12810"

129 14x6"

11512"

PBL-(003 y 006)

1308"

1318"

132 12x4"

13310"

13410"

135 14x6"

13612"

13710"

---

11614"

PBL-(004 y 007)

13810"

13910"

140 14x6"

14112"

14210"

---

14316"

14414"

---

11718"

PBL-008

14512"

14610"

---

14714"

14812"

---

14920"

15018"

---

11824"

PBL-009

15114"

15212"

---

15318"

15416"

---

15524"

15622"

---

11930"

PBL-010

15718"

15816"

---

1594"

16018"

---

16124"

16222"

---

12030"

DuctoConector a la Boca de Salida

Clave

EDD 1200 pies/min

EDD 900 pies/min

EDD 500 pies/min

PBL-001

1634"

---

---

1646"

---

165 8x4"

1668"

1678"

168 12x4"

PBL-(002 y 005)

1696"

---

170 8x4"

1718"

1728"

173 12x4"

17410"

17510"

176 14x6"

PBL-(003 y 006)

1778"

1788"

179 12x4"

18010"

18110"

182 14x6"

18312"

18410"

---

PBL-(004 y 007)

18510"

18610"

187 14x6"

18812"

18910"

---

19016"

19114"

---

PBL-008

19212"

19310"

---

19414"

19512"

---

19620"

19718"

---

PBL-009

19814"

19912"

---

20018"

20116"

---

20224"

20322"

---

PBL-010

20418"

20516"

---

20620"

20718"

---

20824"

20922"

---
EDD-DuctoConector de salida o entrada de PremiumBlower a TurboDuctos.
EEE-GabineteConector, de la entrada de PremiumBlower a TurboGabinetes porta TurboFiltros.
Ver páginas de TurboDuctos, TurboCampanas y TurboFiltros.

| Inicio   RegistrateProductos | Servicios | Materiales |Especiales | Precios   |  AutoCadOrden de Compra | Obras | Ofertas | Seminarios | La Empresa | Chat ICQo MessengerCorreo | Información Técnica | Sitios de Interés | Otros | Lo Nuevo | Intranet | Imprimir |
CiberStats. Pincha para estadisticas.Copyright © 1996-2001, Todo en Ventilación S.A. de C.V. tiene todos los derechos reservados.
VentDepot México: (52) (55) 5822-1516. TelFax: (52) (55) 5825-0752. mexico@ventdepot.com
VentDepot Perú: (051) 445-5693. TelFax: (051) 436-7042. peru@ventdepot.com
VentDepot USA: 4336 Gessener, Houston, Texas, USA. 77041, P.O. Box. usa@ventdepot.com