ventdepot.com

| Inicio   RegistrateProductos | Servicios | Materiales |Especiales | Precios   |  AutoCadOrden de Compra | Obras | Ofertas | Seminarios | La Empresa | Chat ICQo MessengerCorreo | Información Técnica | Sitios de Interés | Otros | Lo Nuevo | Intranet | Imprimir |

Equipos y Productos: TurboCentrífugos: OvenBlow.
Características Generales

Esta serie de TurboCentrífugos OvenBlow VentDepot, cuenta con amplias prestaciones en caudal y presiones medias.
La carcasa está fabricada en 100% Aluminio, material aisla mejor el calor del motor.
Operación máxima de 220°C en la carcasa.
Rotor de Aluminio fundido ligero y resistente a la corrosión.
Motor con balero de bolas prelubricadas para uso continuo.
Cuenta con bridas de entrada y descarga.
Optimizada al máximo en consumo y eficiencia.
Diseñado con normas internacionales y aprobado por la I.V.S. (Industrial Ventilation Society).
Aplicaciones
Extrae o inyecta: Aire caliente, vapor y humos.
Para uso en: Reciclado de aire caliente en hornos, impulso de aire en fraguas, cubilotes, secadores, quemadores, maquinas de inyección de plástico, etc.
Garantía
1 (Un) año de Garantía certificado por escrito, sujeto a las claúsulas.

Características Técnicas Específicas

Clave

Caudal a descarga libre
de Rotor

RPM

Amperaje

Potencia

Nivel Sonoro

Peso y Dimensiones con Empaque de Plástico

CFM

m3/hr
pulg

127V
HP
dB
Kg

cm

OVB-001

323

550

7

3450

11.8

1

52

12

40x25x25

| Orden de Compra | Solicitar Precios | Correo y/o Asesoría Técnica | AutoCad| Tiempos de Entrega | Garantía |

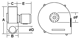
Dimensiones (mm)

Clave

A

B

C

D

E

F

OVB-001

270

120

90

70

220

100

Prsión Estática
Montaje
 
mmcda
Sujetar por medio de pijas y taquetes a la pared, techo o piso.
VentDepot Team, monta, instala o da mentenimiento a cualquiera de nuestros equipos, de forma rápida, segura y comforme a las normas industriales.
Suministro y servicio a toda la República Mexicana.
 
25
50
75
100
OVB-001
500 410 150 --
*Caudales en m3/hr. Caudal medio referido a los TurboDuctos.

Accesorios

DuctoConector a la Boca de Entrada

Clave

EDD 1200 pies/min

EDD 900 pies/min

EDD 500 pies/min

EEE 500pies/min

OVB-001

---

---

---

---

---

---

---

---

---

---

DuctoConector a la Boca de Salida

Clave

EDD 1200 pies/min

EDD 900 pies/min

EDD 500 pies/min

OVB-001

---

---

---

---

---

---

---

---

---
EDD-DuctoConector de salida o entrada de PremiumBlower a TurboDuctos.
EEE-GabineteConector, de la entrada de PremiumBlower a TurboGabinetes porta TurboFiltros.
Ver páginas de TurboDuctos, TurboCampanas y TurboFiltros.

Material Eléctrico

Clave
Arrancador 127V
Arrancador 127
Elementos Térmicos 127V
Elementos Térmicos 127V
OVB-001
MEA-001 
MRR-040 x1*
Recuerde que el Arrancador tiene que ir acompañado del Elemento Térmico.
*Este número indica la cantidad de Elementos Térmicos que se requieren para el arrancador, el cual es igual al número de polos del equipo. Ejemplo: x1 esto indica que se requiere un Elemento Térmico, x2 esto indica que se requieren dos Elementos Térmicos, etc.

| Inicio   RegistrateProductos | Servicios | Materiales |Especiales | Precios   |  AutoCadOrden de Compra | Obras | Ofertas | Seminarios | La Empresa | Chat ICQo MessengerCorreo | Información Técnica | Sitios de Interés | Otros | Lo Nuevo | Intranet | Imprimir |
CiberStats. Pincha para estadisticas.Copyright © 1996-2001, Todo en Ventilación S.A. de C.V. tiene todos los derechos reservados.
VentDepot México: (52) (55) 5822-1516. TelFax: (52) (55) 5825-0752. mexico@ventdepot.com
VentDepot Perú: (051) 445-5693. TelFax: (051) 436-7042. peru@ventdepot.com
VentDepot USA: 4336 Gessener, Houston, Texas, USA. 77041, P.O. Box. usa@ventdepot.com