ventdepot.com

| Inicio   RegistrateProductos | Servicios | Materiales |Especiales | Precios   |  AutoCadOrden de Compra | Obras | Ofertas | Seminarios | La Empresa | Chat ICQo MessengerCorreo | Información Técnica | Sitios de Interés | Otros | Lo Nuevo | Intranet | Imprimir |

Equipos y Productos: TurboAxiales: AxiMaster.

Características Generales

Nuestro turboAxial AxiMaster VentDepot, está fabricado 100% aluminio anodizado, acero inoxidable y fibra de vidrio.

Diseñado para mover volúmenes grandes de aire. Su construcción ligera y robusta, hace que el montaje sea fácil.

Motor totalmente cerrado con recubrimiento clase "F" resistente a temperaturas de hasta 130°C.

El AxiMaster es el equipo más silencioso de su tipo.

Diseñado con normas internacionales y aprobado por la I.V.S. (Industrial Ventilation Society).

Aplicaciones

Extrae: Calor, vapor, humo, olores, solventes, partículas de polvo y pelusa.

Inyecta: Aire fresco.

Para uso en: Bodegas grandes, naves industriales, talleres, lugares con alta salinidad o humedad, etc.

Garantía

1 (Un) año de Garantía certificado por escrito en el motor, sujeto a las claúsulas.

 

Características Técnicas Generales

 

Clave

Aspas

Caudal a descarga libre

RPM

Amperaje

Potencia 

Nivel Sonoro

Peso y dimensiones con empaque de plástico

mm

pulg

CFM

m3/hr

127 V

HP

dB

Kg

cm

AMS-001

610

24

5294

9000

1100

5.8

1/2

60

14

87x95x27

 

| Orden de Compra | Solicitar Precios | Correo y/o Asesoría Técnica | AutoCad| Tiempos de Entrega | Garantía |

 

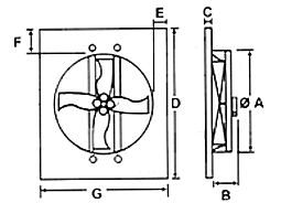
Dimensiones (mm)

Funcionamiento y Montaje

 

 

 

 

 

Flujo de aire de hélice a motor.

Perforar un agujero en la prede con las siguientes dimensiones (mm) y fijar.

Clave

A

B

C

D

Clave

I

J

K

AMS-001

696

203

50

933

AMS-001

35

220

700

E

F

G

 

80

118

857

 

 

 

 

 

 

 

 

 

 

 

 

Presión Estática

 

 

mmcda

VentDepot Team, monta, instala o da mantenimiento a cualquiera de nuestros equipos, de forma rápida, segura y conforme a las normas industriales.

Clave

2

4

6

Suministro y servicio a toda la República Mexicana.

AMS-001

7800*

3900

1400

*Caudales en m3/hr.

Ver diferentes tipos de montajes, con diversos accesorios. Más info...

 

Accesorios

Clave

AxiGorro

TurboGabinete

6" Fondo

VariMarco

de 5 a 8"

AlumLux

Blanca

AlumLux

Cromo

CuadriGuarda

Fondo 2"

CuadriGuarda

Fondo 6"

UltraBarra

AeroPersiana

AMS-001

EAG-016

EGF-013

EMC-043

ERA-030

ERA-071

EGC-014

EGC-039

ESG-015

APS-006

Para mayor información vea la ficha técnica de cada Accesorio.

Ver diferentes tipos de montajes, con diversos accesorios. Más info...

Sugerimos ver nuestro criterio de selección de accesorios. Más info...

 

Material Eléctrico

Clave

Arrancador 127V

Elementos Térmicos 127V

AMS-001

MEA-001

MRR-032 x1*

El arrancador sirve para brindar una mayor protección a su equipo. Es importante conectar el equipo a un arrancador adecuado y no a interruptores.

Recuerde que el Arrancador tiene que ir acompañado del Elemento Térmico.

*Este número indica la cantidad de Elementos Térmicos que se requieren para el arrancador, el cual es igual al número de polos del equipo. Ejemplo: x1 esto indica que se requiere un Elemento Térmico, x2 esto indica que se requieren dos Elementos Térmicos, etc.

 

| Inicio   RegistrateProductos | Servicios | Materiales |Especiales | Precios   |  AutoCadOrden de Compra | Obras | Ofertas | Seminarios | La Empresa | Chat ICQo MessengerCorreo | Información Técnica | Sitios de Interés | Otros | Lo Nuevo | Intranet | Imprimir |

CiberStats. Pincha para estadisticas.Copyright © 1996-2001, Todo en Ventilación S.A. de C.V. tiene todos los derechos reservados.
VentDepot México: (52) (55) 5822-1516. TelFax: (52) (55) 5825-0752. mexico@ventdepot.com
VentDepot Perú: (051) 445-5693. TelFax: (051) 436-7042. peru@ventdepot.com
VentDepot USA: 4336 Gessener, Houston, Texas, USA. 77041, P.O. Box. usa@ventdepot.com